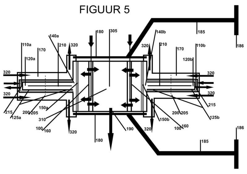
LIJST VAN REFERENTIENUMMERS FIGUUR 5

Behuizing en Structuur:

  • 100: Hydraulic Monolith (het monolithische hoofdblok)
  • 110 (a/b): Primaire reactie kamers (Twin-configuratie)
  • 170: Siloxaan-koelmantel (Isothermal Energy Harvesting)
  • 180: Tierods
  • 185: Bevestigingsvoeten
  • 186: Hydro-pneumatische Puffers

Plunjergroep en Afdichting:

  • 120 (a/b): Differentiële plunjergroep
  • 125: Labyrint-gasafdichtingen
  • 140 (a/b): Stikstofkamer / Nitrogen Ring Layer (NRL) gasveer
  • 200: Monolithisch geïntegreerde stikstof-injectiering
  • 205: Micro-nozzles voor actieve gasbarrière en centrering
  • 210: Interne koelribben (Open-Core Plunjer Cooling)
  • 215: Keramische thermische barrière (coating op plunjerkop en reactiekamer wand)

Hydrauliek en Energieoverdracht:

  • 150 (a/b): Hermetische balgstructuren (afscheiding olie/stikstof)
  • 160: Passieve kleppenstructuur
  • 190: Actieve regelklep (\Delta P-5 Stabilization Logic)
  • 310: Centraal hydraulisch plenum (vloeistofkern)
  • 320: Flow van/naar ITS

Systeemconfiguratie:

  • Figuur 5: Axiaal gespiegelde Twin-architectuur (gehele samenstel)
  • 305: Centrale symmetrie-as (krachtenbalans)
  • SHPA: Schaalbare Array van hydro-puls eenheden
  • HVBI: Centraal hydraulisch buffervat